石墨氣泵轉子的自動成型裝置制造方法及圖紙
石墨氣泵轉子的自動成型裝置制造方法及圖紙
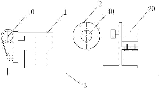
本發明專利技術的目的是提出一種提高加工精度和加工效率的石墨氣泵轉子的自動成型裝置。該自動成型裝置包括具有刀架、主軸、卡盤及拖板的機床,所述機床的刀架上安裝有雙頭銑削機構,所述機床的拖板上安裝有銑插削機構,所述車床的前端安裝有用于控制車床主軸轉動及角度的主軸驅動機構;所述雙頭電動銑削機構包括固定于刀架上的銑刀頭支座,所述銑刀頭支座安裝有水平轉軸,所述轉軸的兩端均設有銑刀,轉軸通過固定于銑刀頭支座上的第一電機驅動;所述銑插削機構包括固定于拖板上的底座,所述底座上固定安裝有滑動軸套,所述滑動軸套內活動安裝有滑動軸,所述滑動軸的一端安裝有直齒銑刀;所述銑插削機構還設有用于控制滑動軸沿滑動軸套移動的調節器。
【技術實現步驟摘要】
本專利技術屬于機械加工,特別涉及到一種石墨氣泵轉子的自動成型裝置。
技術介紹
石墨氣泵轉子的傳統加工方法是在車床上完成端面、外圓和內孔的加工,在銑床上完成外側軸向溝槽和內側徑向溝槽的加工,在插床上完成徑向溝槽的直角加工,即需要至少三種設備,三次夾裝才能完成。由于使用設備多,夾裝次數多,主要存在以下問題:1、加工成本高;2、加工效率低;3、加工精度無法保證。
技術實現思路
本專利技術的目的是提出一種提高加工精度和加工效率的石墨氣泵轉子的自動成型裝置。本專利技術的石墨氣泵轉子的自動成型裝置包括具有刀架、主軸、卡盤及拖板的機床,關鍵在于所述機床的刀架上安裝有雙頭銑削機構,所述機床的拖板上安裝有銑插削機構,所述車床的前端安裝有用于控制車床主軸轉動及角度的主軸驅動機構;所述雙頭電動銑削機構包括固定于刀架上的銑刀頭支座,所述銑刀頭支座安裝有水平轉軸,所述轉軸的兩端均設有銑刀,轉軸通過固定于銑刀頭支座上的第一電機驅動;所述銑插削機構包括固定于拖板上的底座,所述底座上固定安裝有滑動軸套,所述滑動軸套內活動安裝有滑動軸,所述滑動軸的一端安裝有直齒銑刀;所述銑插削機構還設有用于控制滑動軸沿滑動軸套移動的調節器。利用上述自動成型裝置對石墨氣泵轉子的加工原理及過程如下:將待加工的石墨柱體利用卡盤夾持固定后,首先調整拖板并轉動刀架,利用車床刀架上安裝的車刀和鉆頭加工出工件的端面、外圓和內孔,然后轉動刀架將-雙頭銑削機構的一端銑刀垂直于石墨柱體的軸線,并利用主軸驅動機構將石墨柱體轉動至預定角度并固定,啟動雙頭銑削機...

【技術保護點】
一種石墨氣泵轉子的自動成型裝置,包括具有刀架、主軸、卡盤及拖板的機床,其特征在于所述機床的刀架上安裝有雙頭銑削機構,所述機床的拖板上安裝有銑插削機構,所述車床的前端安裝有用于控制車床主軸轉動及角度的主軸驅動機構;所述雙頭電動銑削機構包括固定于刀架上的銑刀頭支座,所述銑刀頭支座安裝有水平轉軸,所述轉軸的兩端均設有銑刀,轉軸通過固定于銑刀頭支座上的第一電機驅動;所述銑插削機構包括固定于拖板上的底座,所述底座上固定安裝有滑動軸套,所述滑動軸套內活動安裝有滑動軸,所述滑動軸的一端安裝有直齒銑刀;所述銑插削機構還設有用于控制滑動軸沿滑動軸套移動的調節器。
【技術特征摘要】
1.一種石墨氣泵轉子的自動成型裝置,包括具有刀架、主軸、卡盤及拖板的機床,其特征在于所述機床的刀架上安裝有雙頭銑削機構,所述機床的拖板上安裝有銑插削機構,所述車床的前端安裝有用于控制車床主軸轉動及角度的主軸驅動機構;所述雙頭電動銑削機構包括固定于刀架上的銑刀頭支座,所述銑刀頭支座安裝有水平轉軸,所述轉軸的兩端均設有銑刀,轉軸通過固定于銑刀頭支座上的第一電機驅動;所述銑插削機構包括固定于拖板上的底座,所述底座上固定安裝有滑動軸套,所述滑動軸套內活動安裝有滑動軸,所述滑動軸的一端安裝有直齒銑刀;所述銑插削機構還設有用于控制滑動軸沿滑動軸套移動的調節器。
2.根據權利要求1所述的石墨氣泵轉子的自動成型裝置,其特征在于所述調節...